Gasbrenner WG30...1-C ZMI
Ersatzteile (spare parts)

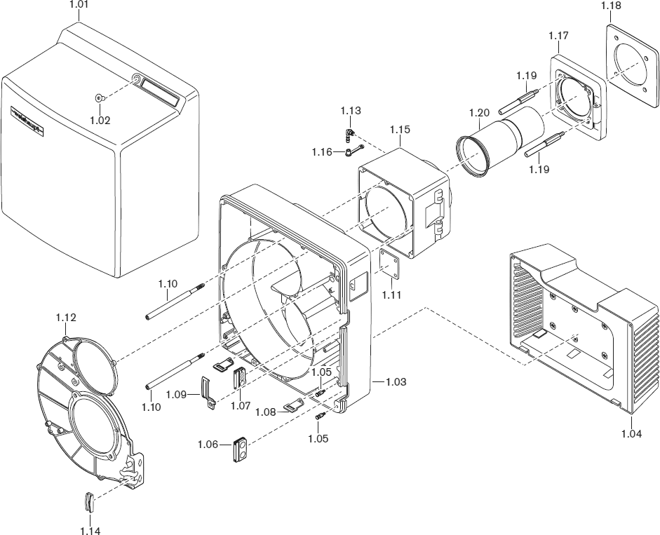
| Pos. | Bezeichnung | Bestell-Nr. |
|---|---|---|
| 1,01 | Abdeckhaube | 241 310 01 112 |
| 1,02 | Schraube M8 x 16 ISO 10642 | 404 412 |
| 1,03 | Brennergehäuse | 232 310 01 017 |
| 1,04 | Ansauggehäuse komplett | 241 310 01 082 |
| - Schraube 4 x 22 Torx-Plus Remform | 409 307 | |
| 1,05 | Einhängebolzen | 241 400 01 327 |
| 1,06 | Tülle | 241 400 01 177 |
| 1,07 | Tülle für Anschlusskabel | 241 200 01 247 |
| 1,08 | Befestigungswinkel für Haube | 241 400 01 207 |
| 1,09 | Schelle | 241 400 01 357 |
| 1,10 | Schraube M8 Brennergehäuse | 241 310 01 257 |
| 1,11 | Befestigungsblech für Gasdrossel | 232 400 01 057 |
| 1,12 | Gehäusedeckel | 241 310 01 037 |
| 1,13 | Einschraubstutzen R⅛ WES6 | 453 010 |
| 1,14 | Halter für Kabel | 241 400 01 367 |
| 1,15 | Zwischenflansch | 241 310 01 047 |
| 1,16 | Schutzkappe DN 6 SELF 50/2 CF | 232 300 01 047 |
| 1,17 | Brennerflansch | 241 310 01 057 |
| - Schraube ISO 4762 M8 x 30- 8.8 | 402 517 | |
| - Scheibe A8,4 DIN 125 | 430 506 | |
| 1,18 | Flanschdichtung 8 x 219,5 x 219,5 | 241 310 01 147 |
| 1,19 | Stehbolzen M10 x 90 Brennerflansch | 241 310 01 247 |
| 1,20 | Flammrohr H WG30C-LE-So. Ø102 mm | |
| - Standard | 232 310 14 272 | |
| - 100 mm verlängert* | auf Anfrage | |
| - 200 mm verlängert* | auf Anfrage | |
| - 300 mm verlängert* | auf Anfrage | |
| - Schraube M5 x 12 Kombi-Torx-Plus 20IP | 409 247 | |
| - Scheibe 5,5 x 12 oval | 241 400 14 077 |

| Pos. | Bezeichnung | Bestell-Nr. |
|---|---|---|
| 2,01 | Motor W-PM05 S-4 komplett | 232 310 07 182 |
| - Motor W-PM05 S-4 | 652 164 | |
| - Ferrit Hülse WE 19 x 11,5 x 50,8 | 737 036 | |
| 2,02 | Schraube ISO 4762 M8 x 20- 8.8 | 402 511 |
| 2,03 | Scheibenfeder 4 x 5 DIN 6888 | 490 154 |
| 2,04 | Drehzahlsensor KJ1,5 Motor W-PM63 komplett | 230 310 12 782 |
| 2,05 | Anbauflansch für LGW | 605 243 |
| 2,06 | Druckwächter LGW 10 A2 1 - 10 mbar | 691 370 |
| 2,07 | Schlauch 4,0 x 1,75 220 mm | 232 050 24 067 |
| 2,08 | Schlauchklemme 7,5 | 790 218 |
| 2,09 | Einschraubstutzen R⅛ GES4 | 453 004 |
| 2,10 | Gebläserad Drehzahl TLR-S 180 x 71,6-L S1 | 230 310 08 012 |
| 2,11 | Gewindestift M8 x 8 mit Ringschneide (Tuflok) | 420 550 |
| 2,12 | Luftleitblech | 232 400 01 047 |
| 2,13 | Luftklappe komplett | 241 310 02 162 |
| 2,14 | Lager links | 241 400 02 037 |
| 2,15 | Lager rechts mit Lagerbuchse | 241 210 02 032 |
| 2,16 | Welle Luftklappe - Winkelgetriebe | 241 310 02 147 |
| 2,17 | Winkelgetriebe | 241 110 02 062 |
| 2,18 | Schrittmotor Luft STE 4,5 24 V | 651 103 |
| 2,19 | Schraube M4 x 30 Torx-Plus metrisch | 409 245 |
| 2,20 | Befestigungsblech | 241 400 02 222 |
| 2,21 | Schraube M4 x 10 Kombi-Torx-Plus Senkkopf | 409 242 |
| 2,22 | Führungshülse | 241 400 02 207 |
| 2,23 | Welle Winkelgetriebe - Stellantrieb | 241 310 02 157 |
| 2,24 | Schrittmotor Gas STE 4,5 24 V | 651 101 |
| 2,25 | Gasdrossel | 232 310 25 030 |
| 2,26 | Dichtung für Verbindungskanal | 232 310 25 087 |
| 2,27 | Drehfeder 2 starke Ausführung | 241 400 02 167 |
| 2,28 | O-Ring 45 x 3 NBR70 ISO 3601 | 445 518 |
| 2,29 | Haltewinkel komplett für Frequenzumrichter | 230 310 01 072 |
| 2,30 | Abschirmblech FU | 232 310 12 037 |
| 2,31 | Frequenzumrichter parametriert | 232 310 12 092 |
| 2,32 | Halteblech Netzdrossel | 232 310 12 027 |
| 2,33 | Drosselspule | 710 614 |
| 2,34 | Schutzkappe Kondensator | 713 485 |
| 2,35 | Kondensator | 713 511 |

| Pos. | Bezeichnung | Bestell-Nr. |
|---|---|---|
| 3,01 | Mischgehäuse WG30N/1-C komplett (Erdgas) | |
| - Standard | 232 310 14 052 | |
| - 100 mm verlängert* | 230 310 14 012 | |
| - 200 mm verlängert* | 230 310 14 042 | |
| - 300 mm verlängert* | 230 310 14 072 | |
| Mischgehäuse WG30F/1-C komplett (Flüssiggas) | ||
| - Standard | 233 310 14 012 | |
| - 100 mm verlängert* | 230 310 14 212 | |
| - 200 mm verlängert* | 230 310 14 232 | |
| - 300 mm verlängert* | 230 310 14 252 | |
| 3,02 | Verschlussgehäuse komplett | 232 310 14 022 |
| 3,03 | Mischrohr WG30N/1-C komplett (Erdgas) | |
| Ø Innen 40 mm | ||
| - Standard | 232 310 14 082 | |
| - 100 mm verlängert* | 230 310 14 022 | |
| - 200 mm verlängert* | 230 310 14 032 | |
| - 300 mm verlängert* | 230 310 14 062 | |
| Mischrohr WG30F/1-C komplett (Flüssiggas) | ||
| - Standard | 233 310 14 022 | |
| - 100 mm verlängert* | 230 310 14 222 | |
| - 200 mm verlängert* | 230 310 14 242 | |
| - 300 mm verlängert* | 230 310 14 262 | |
| 3,04 | Düsentopf WG30-C Sonder 8 x D2,2 | 232 310 14 167 |
| 3,05 | Schraube M4 x 22 Torx-Plus 20IP | 409 238 |
| 3,06 | Stauscheibe Ø105 x 36 mm | 232 310 14 157 |
| 3,07 | Schraube M4 x 8 Torx-Plus 20IP | 409 235 |
| 3,08 | Bügel für Elektroden | 232 400 14 187 |
| 3,09 | Schraube M4 x 10 Torx-Plus 20IP | 409 223 |
| 3,10 | Zündelektrode | 232 200 14 217 |
| 3,11 | Fühlerelektrode | 232 100 14 207 |
| 3,12 | Zünd- und Fühlerleitung | |
| - 600 mm (Standard) | 232 310 11 042 | |
| - 700 mm (für 100 mm Verlängerung)* | 232 400 11 042 | |
| - 800 mm (für 200 mm Verlängerung)* | 230 310 11 182 | |
| - 900 mm (für 300 mm Verlängerung)* | 230 310 11 192 | |
| 3,13 | Wiederöffnungsband 4,7 x 200 KBLS20045 sw | 794 089 |
| 3,14 | Stellhebel Oberteil | 241 400 10 077 |
| 3,15 | Stellhebel Unterteil | 232 400 14 197 |
| 3,16 | Schraube M4 x 12 Torx-Plus 20IP | 409 237 |
| 3,17 | O-Ring 42 x 3 NBR70 ISO 3601 | 445 128 |
| 3,18 | Schauglas | 241 400 01 377 |
| 3,19 | Stopfen 5,25 | 241 110 10 087 |
| 3,20 | Anzeigebolzen M6 x 90 | 241 110 10 097 |
| 3,21 | Verstellschraube M6 x 88 | 241 400 10 097 |
| 3,22 | Federscheibe A6 DIN 137 | 431 615 |
| 3,23 | Sechskantmutter M6 ISO 4032 -8 | 411 301 |
| 3,24 | Sechskantmutter M6 DIN 985 -6 | 411 302 |
| 3,25 | Schraube G⅛A DIN 908 St | 409 004 |
| 3,26 | Dichtring 10 x 13,5 x 1,5 DIN 7603 | 441 033 |

| Pos. | Bezeichnung | Bestell-Nr. |
|---|---|---|
| 4,01 | Feuerungsmanager W-FM 25 / 230 V | |
| - Intermittierender Betrieb mit O2-Regelung | 600 491 | |
| - Dauerbetrieb mit O2-Regelung (PO-O2) | 600 489 | |
| 4,02 | Feinsicherung T6,3H, IEC 127-2/5 | 483 011 22 457 |
| 4,03 | Haltebügel mit Tragschiene | 232 310 12 022 |
| 4,04 | Netzfilter | 710 615 |
| 4,05 | Steckerteil ST18/7 | 716 549 |
| 4,06 | Steckerteil ST18/4 | 716 546 |
| 4,07 | Zwischenstecker Nr. 7 | 241 400 12 042 |
| 4,08 | Zwischenstecker Nr. 15 | 232 110 12 082 |
| 4,09 | Steckerkabel Nr. 3/N Frequenzumrichter | 230 310 12 122 |
| 4,10 | Steckerkabel Nr. 11 Luftdruckwächter | 232 400 12 032 |
| 4,11 | Ionisationskabel Nr. 13 | 232 310 12 012 |
| 4,12 | Steckerkabel Nr. 14 Fernentriegelung | 230 110 12 362 |
| 4,13 | Steckerkabel Nr. 12 Gasdruckwächter | 232 400 12 022 |
| 4,14 | Steckerkabel Nr. 5 W-FM, DMV | 232 400 12 012 |
| 4,15 | Steckerkabel ST18/7 für Netzfilter | 232 400 12 192 |
| 4,16 | Anschlussleitung FU mit Ferrit | 232 310 12 062 |
| 4,17 | Schaltlitze 0,75 x 300 mm | 232 310 12 072 |
| 4,18 | Isolierschlauch 5,0 x 190 mm | 232 400 07 197 |
| 4,19 | Schaltlitze 0,75 x 120 mm | 211 155 22 052 |
| 4,20 | Schaltlitze 0,75 x 45 mm rot | 211 155 22 012 |
| 4,21 | Befestigungsbügel ABE | 241 400 12 017 |
| 4,22 | ABE für W-FM 20 / 25 mit 0,58 m Leitung | 600 481 |
| 4,23 | Zündgerät Typ W-ZG01 230V 100VA Termal | 603 201 |
| 4,24 | Verschlussstopfen für Zündgerät | 603 135 |
| 4,25 | Schraube M4 x 42 Kombi-Torx-Plus 20IP | 409 260 |
| 4,26 | Steckerschalter ST18/4 | 130 103 15 012 |

| Pos. | Bezeichnung | Bestell-Nr. |
|---|---|---|
| 5,01 | O-Ring 45 x 3 NBR 70, DIN 3771 | 445 518 |
| 5,02 | Flansch Rp1½ | 232 400 26 027 |
| 5,03 | Druckmessnippel G⅛A | 453 001 |
| 5,04 | Nippel | |
| - N4/2-1½ x ¾-Zn-A EN 10242 | 453 085 | |
| - N4-1½ x 1 -Zn-A EN10242 | 453 713 | |
| - N4-2 x 1½ -Zn-A EN10242 | 453 718 | |
| 5,05 | Doppelnippel | |
| - R¾ x 50 | 139 000 26 727 | |
| - R1 x 80 | 139 000 26 747 | |
| - R1½ x 80 | 139 000 26 677 | |
| - R2 x 80 | 139 000 26 267 | |
| 5,06 | Druckregelgerät | |
| - FRS 507 Rp¾ | 640 676 | |
| - FRS 510 Rp1 | 640 677 | |
| - FRS 515 Rp1½ | 640 678 | |
| - FRS 520 Rp2 | 640 679 | |
| 5,07 | Flansch DMV | |
| - 507 Rp¾ | 605 227 | |
| - 512-520 Rp1 | 605 228 | |
| - 512-520 Rp1½ | 605 230 | |
| - 512-520 Rp2 | 605 231 | |
| 5,08 | O-Ring Anschlussflansch | |
| - 57 x 3 DMV 507 | 445 519 | |
| - 75 x 3,5 DMV 512, DMV 520 | 445 520 | |
| 5,09 | Magnetventil 220-240V | |
| - DMV-D 507/11 | 605 204 | |
| - DMV-D 512/11 | 605 206 | |
| - DMV-D 520/11 | 605 208 | |
| 5,10 | "Druckwächter GW 50 A5/1 5 ... 50 mbar mit Schrauben und O-Ring" |
691 378 |
| 5,11 | O-Ring 10,5 x 2,25 | 445 512 |
| 5,12 | Winkel | |
| - A4- ¾ x ¾-Zn-A EN10242 | 453 135 | |
| - A4-1 x 1 -Zn-A EN10242 | 453 106 | |
| - A4-1½ x 1½-Zn-A EN10242 | 453 155 | |
| - A1-2-Zn-A EN10242 | 453 112 | |
| 5,13 | Druckregelgerät | |
| - FRS 507 RP¾ | 640 676 | |
| - FRS 510 Rp1 | 640 677 | |
| - FRS 515 Rp1½ | 640 678 | |
| - FRS 520 Rp2 | 640 679 | |
| 5,14 | Filter | |
| - Rp¾ WF 507/1 | 151 223 40 130 | |
| - Rp1 WF 510/1 | 151 223 40 140 | |
| - Rp1½ WF 515/1 | 151 223 40 150 | |
| - Rp2 WF 520/1 | 151 223 40 160 | |
| 5,15 | Kugelhahn | |
| - 998NG-¾-CE-TAE | 454 596 | |
| - 998NG-1-CE-TAE | 454 597 | |
| - 984 1½-CE-TAE | 454 911 | |
| - 984 2-CE-TAE | 454 912 | |
| 5,16 | Druckschlauch DN6 750 mm lang beidseitig | 491 251 |
| 5,17 | Verschraubung 24-SDSX-L08-G1/4A-ST-CH60 | 452 264 |
| 5,18 | Dichtring A 13,5 x 17 x 1,5 DIN 7603 Cu | 440 010 |
| 5,19 | Druckwächter max. GW50* | 691 381 |
| 5,20 | Reduziernippel N4-2 R½ x G¼** | 151 337 26 647 |
** Nur bei Druckregelgerät FRS Rp1½ und Rp2.
